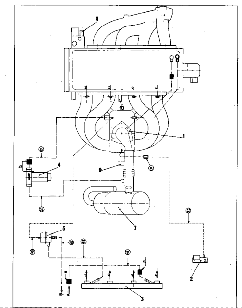
Sur les photos ci-jointes est-ce le capteur PMH ?
Merci pour vos réponses .



Modérateur : Equipe du site



























Oui ça peut aider à résoudre des soucis car avec le reset le calculateur refait toutes une série de procédures de "calibration", et ça lui permet de mieux être en "phase" avec ce qu'il récupère comme infos du côté des diverses sondes.EIFFEL74 a écrit : 12 nov. 2022, 18:24 Le faite de faire un redémarrage du calculateur peut-il remettre les choses en place comme l'on fait un reboot avec un ordinateur ?




